|
190-197 8573-P75 486 (8573-161 AND 8573-401) SHS84F8525 IBM PS/2 P75 486 HMR SHS84F7593 IBM PS/2 Model P75 486 HMS Patched Refdisk Files (result of running XGAOPT.EXE on original refdisk) P75 System BoardIndicator Port Pinout (J17) Failing Planar? Bad caps Slot Numbers and Widths P75 SCSI Terminators Remove SCSI BIOS Chips SCSI and System BIOS Wondering Set SCSI ID SCSI Cable Memory Filling SIMM Sockets Non-OEM Memory 64MB in a P75? Actions On Memory Errors Floppy Drive Floppy Controller 2.88MB Capable? Attempting 2.88MB Support (Always use the stock refdisk!) Undorking a P75 External Storage Device Connector External Storage Device Cable Source Remove Floppy Drive (H1 Model) Reassemble Floppy Drive P75 Drive Carrier Screw Spacings P75 HD Rail Dimensions Hard Drive Mounting Rails Hard Drive Mounted in Cage Battery Pack J18 Pinout P75 CMOS Battery Replacement (Dr. Jim) Processor Card Video Card J1 and J2 Blank Plasma Display (14902 Error or just no video at all) Brightness Program P75.EXE Riser Swap with P70 Windows 98SE Built-in Features ADF P75 Planar 78F9896
90X8134ESD, just like on the K and 0 complexes and the 50Z planar. J17 six pin header for floppy drive, power, and hard drive LEDs J20 MC-2 14 pin header that connects to riser card. J8 Wire Colors Indicator
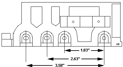
Port (J17) Pinout Pin LED Slot Numbers
and Widths
Slot 4
(Outer Top) 32-bit AVE Place memory expansion cards in Slot 2!
P75 SCSI To me, it resembles the newer SCSI /A with the 20MHz/12.5MHz oscillators. P75 SCSI Tribble (new) 80C32-1 CPU N8032AH AIC-6250EL AIC-6250EL 33F6910 33F6910 33F6715 33F6715 4464S-08LL SRM2264LM12 20000 xtal KHz? 20 MHz 12500 xtal KHz? 12.5 MHz OKI 15F7917 OKI 15F7917 Take a look at David Beem's SCSI microcode levels. The latest ucode for the Tribble is 41G9974 14h/20d date 1992. Compatible chip for the BIOS and firmware is 28 pin SOIC Atmel AT27C256R SCSI BIOS PN 79F3214 (even) / PN 79F3213 (odd). SCSI microcode PN 79F3212 Ed. I had Bruce from Blue Feather Technologies burn me some of the 92F2244 and 92F2245 SCSI BIOS in the small SOIC chips and use them in my P75s. Up to six SCSI devices can be attched to the SCSI controller. It supports drives up to 1.05GB. Terminators
Removing
SCSI BIOS Chips Dr. Jim sez (in his best bedside manner) SCSI and System BIOS Wondering At first I tried using a 2.1GB Quantum Fireball attached to the onboard SCSI controller. The drive was properly recognized with 2.112MB in the setup - but it did not show up with the proper capacity in FDISK. I tried Win95 FDISK - which showed a size of 1.024MB (1.0GB) as estimated even with the advanced large media support turned on. Then I installed the short IBM PS/2 Fast SCSI-2 Adapter /A (60E9) in the second lower 16-bit slot. The first slot contained a short 16/4 Token Ring adapter already. While the card has no front tab it just fits between the rear slotcover and the power supply fan without squeezing :-) A very tight fit if you ask me. The internal SCSI cable could be detached from the planar SCSI port and attached to the SCSI-2 card. The length is sufficient. Now: this seems to work. It is however not possible to configure the SCSI device(s) attached to that controller, if you only copy the ADF to the reference disk. Most likely you will have to use "copy an Option Disk" and get the updated SCSI.DGS, SCSIHF.DGS and -probably- SC.EXE to the P75 reference disk. I did not do that ... so far. Maybe later, because I only have a US-P75 reference and only a german "SCSI-2 Option Disk" - and if there is one thing how to voluntarily step in the mud then it is mixing different language versions. The P75 also lacks the ability to select the startup sequence - but at least it had no problem determining that the planar SCSI only has an external CD-ROM attached and that the 2.1GB harddisk is on the SCSI-2. FDISK got straight through and installed a 2GB primary partition. After reboot the FORMAT C: says "Formatting 2.012,03MB" ... which takes a while, because this particular drive has some bad sectors, which are not hidden. Strange. But okay. Physically the slimline Quantum drive fits into the half-height HD-cage. But the ID-select cable has an "old raster" plug for the large jumper pins, while the Quantum has the "mini jumpers", which are thinner and have only 1.5mm pitch. Doesn't matter much, because once set there is no reason to have the drive ID switched to anything else than the pre-set ID 6 (traditionally I took ID-6 of course). Sadly the P75 has a soldered firmware ROM on the processor card. There is no chance to read out the ROM content *after* the system powered up - and then the ROM is relocated to an area above 16MB and masked from access. Only the shadow-copy remains at the adresses E000 - FFFF and is mixed with the additional codes from the XGA and planar SCSI. This is the same method as used on all PS/2 with 486-class processors (and even 386 cpus) - but these have removeable ROMs that could be read and analyzed before the POST relocates the "pure ROM code" out and only the "compatibility part" remains. I would really like to compare e.g. a Type 2 (old) and 41G9361 Type 2 (new) code for the advanced SCSI support and try to add this to the P75 firmware ROM, which *seem* rather close to the Type 2. Technically the P75 is a sort of Mod. 77 / Mod. 90 mix in a portable case. It has a similar memory subsystem (single modules, unpaired) and the planar SCSI from the "Bermuda" 77, it got the planar XGA-1 from the Mod. 90. So either of these machines -to my opininon- could be used to filter out the additional code that enables the planar SCSI controller to handle drives over 1GB. On the Mod. 90 the code can be supplied with the upgrade version
of the the processor board firmware ROM - why not on the P75 ? Set SCSI ID
SCSI Cable Note- both SCSI connectors
have the pin holes facing UP. The length of the flat and loose is immaterial,
but the OAL should be AT LEAST 6.5". The end for the drive should use a
strain relief. Memory 2 and 4MB 70nS parity SIMMs are supported, max 16MB on the planar.
Panasonic OEM (IGH0380BA) 4MB is FRU
64F3605 P/N 64F8776 64F3605 and 92F0105 Considerations Thinkpad General - Model P70 And P75 Memory
Checkout Filling
SIMM Sockets
Non-OEM Memory
64MB on a P75 Ivar Amund Grimstad wrote: I have upgraded to a total of 64MB RAM, using 12MB on the planar and 52MB on a Kingston KTM-MC64 expansion board that fits only in the upper 32-bit slot. (Ed. I think there has to be a "memory window" in the 16MB so you can "map" the extended memory into it. Might be able to get 14MB on the planar with 4x4x4x2?) (Ed.Slot 2 is the MME slot) Peter said: That's right. The P75 is -more or less- a "Model 90
with a carrying handle". So the 16MB memory limit does not directly apply
on that machine (unlike to Mod. 70 and 80). However: the planar memory
mapper seems to be a bit odd and needs to map in the memory on a card ("Channel
Memory") into the lower 16MB to have it adressable. That's why I had to
remove memory from the systemboard. Action on Memory Error The P75 allocates memory in 2MB blocks, except for the first 2MB of system-board memory. For errors in this first block, the following occurs: Error in First 512KB Error Outside First 512KB
If errors occur one at a time, the system deactivates
2MB blocks of memory. However, if two errors occur at the same time on
the same SIMM, the system programs cannot be loaded and an error message
is displayed. Floppy Drive The floppy can be used in the open or closed position. It is recommended that it is operated in the closed position so the chance of foreign material dropping in the drive is greatly reduced. The floppy in my P75 is a ALPS DFP723D15C, 12v .47A, 5v .16A Floppy
Controller 2.88MB Capable
BIOS?
Using the 2.88MB Floppy According to the Western Gunslinger, David Beem, the non-star 2.88 works. So I whipped out a FRU 64F4148, Sony MP-F40W-03, and dropped it in with some trepidation. Installation- This model has
the same layout as the original ALPS DFP723D15C. Looking from above, the
drive motor is on the left (same side as the eject button) and floppy cable
is on the right. Longer 2.88MB Eject Button Hacking Refdisk
for 2.88MB Support
This was more fun than being attacked with a Ronco Turnip Twaddler... I was unable to reset the CMOS with any utility that I tried, the floppy could read the floppy, but trying to open files produced Disk not Ready errors. I noticed that I could boot with a PC DOS 7 boot disk, so out of hope (desperation?) I created a PC DOS 7 bootable floppy, then dumped all the other files (minus command.com, ibmbio.com and ibmdos.com) to the boot disk. I then used Bob Eager's REFSTAMP on it. The hybrid refdisk will boot to the PC DOS prompt. I then ran SC.EXE from the command line, configured, then saved it. Sort of nice with the bootable floppy, as soon as you hit F3 to exit, it returns you to the command line. Run SETCLOCK.EXE to set your clock. Shorting the MC146818AF RTC
Stick the MCA slot bracket back on, replace all screws and posts. Boot with the PC DOS 7/refdisk hybrid. Run SC.EXE and SETCLOCK.EXE,
now the system should (maybe, possibly) respond. External Storage Device Connector Shared with the P70, look HERE Floppy Drive
Removal
Removing Floppy from Drive Carrier, H1
Model Unscrew both screws from the upper side of the carrier. Pull
the floppy rearward until the white plastic piece on the right side is
just to the front of the catch. Reassembling
Floppy into Drive Carrier If you look into the recess that the drive carrier fits into, you will notice a black catch in the upper right corner. Now look at the two white plastic pieces. Notice that one has a little "arm" sticking up? This part gets screwed on the floppy on the same side as the eject button. Slip the left side of the floppy into the drive carrier. Pull the right side of the carrier out so the floppy "rail" will clear. Slide drive forward until it stops. Install both self tapping screws. Warning! There
is a aluminum ground shield across the bottom of the floppy drive. It is
attached with four screws through the bottom mounting holes (which are not
used by the plastic "rails"). It is coated on one side with a plastic non-conductive
coating. To properly attatch this shield, the grounding strap "tab" MUST be on the same side as the motor! A simple
test- use an ohmeter on the shield, one side conducts, the other, not.
P75 Drive Carrier
My vision- Get a angle bracket, cut to length, drill mounting holes
in the top and sides. P75
HD Rail Dimensions NOTE: The distance to the angle for these holes is not critical, as long as you have clearance for the screw heads. First hole for the HD to rail is 2.375". second hole is at 4.125". Both holes are .125" from the angle NOTE: These holes MUST be .125" away from the angle, since the Hard Drive width can't change... NOTE: The rails are mirror images,
they are NOT identical!. The dimensions are the same, but swapped.
The HD mounting holes are .125" from the edge of the angle, and interfere with installing the screw, so I used a keyway cutter to mill away a slot to give the screw head clearance. The holes to mount the rails are 5/32 for now, but I'm thinking of switching to a mild steel angle because the extruded aluminum is soft. I could have tapped it for 10/32, but I'm afraid that it would be too easy to strip the threads from aluminum. P75 HD Cage with Drive Rails
Here's a shot with the drive on the rails. I used 3/8ths inch 8x32 nylon machine screws and nuts from Ace Hardware. The nylon screws were a close fit in the 5/32" holes, almost like a barbed fastener... You might just stick with 5/32 and nylon screws for a quick assembly. NOTE: The aluminum angle used may make "shavings" when threaded for use with steel screws. Consider threading for 8x32 and use nylon screws...I wonder if a thread forming tap would work. Using aluminum is OK, but be careful of threading.. Use the same diameter drill for all holes if you can. Use a 1/2" diameter by 3/16" wide keway cutter. A .750" dia cutter leaves too much flash. If you use an ER-20 collet chuck, get a 3/8" shaft keyway cutter so it fits... Battery Pack PN 79F3198 (assembly) Battery Card, PN 64F8794 The P75 uses a 6V battery pack, with two Panasonic CR2477 3v 1000 mAh cells in series soldered to a circuitboard. The battery header (J18) is a four pin header with one pin missing. The plug on the end of the battery card cable has one position plugged. J18 Pinout
Processor Card PN 64F8775 FRU 64F8789
Video Card PN 78F9895 FRU 78F9897
A lot of these are used on the XGA adapter. J1 and J2
Brightness Program To install Brightness program, run Brtinst.com from the refdisk. This installs brt.com. To have emphasized text brighter than standard text, type "BRT" and press Enter. To have standard text brighter than emphasized text, type "BRT /H" and press Enter. The P75 has XGA-1 with 1MB VRAM. The internal display however supports only the 640 x 480 mode and turns off if any of the higher modes is used. This will explain why you can get a picture on the external screen but not on the plasma. You will have to stay at the low-res mode here, since the display is from the principle only a "generic VGA screen" (same as on the P70 BTW). P75.EXE
Type "P75/u" at dos prompt (undo) option to return to the monitor connected to the XGA2 Adapter.
Riser Swap with P70 Gee, ever think of using a P75 riser on a P70? Well, it doesn't look good- The riser may fit, but the P75 has a 14 pin header from the board to the riser card. Of course, the P70 lacks it entirely. Probably the extra control lines? Whatever. Another MAD fantasy... Win98SE on P75 Peter sez: Today I have tested my trusty old "PortaPotty" 8573-401 (P75 Luggable) with Win98SE. My configuration: unmodified 486DX-33, 8MB (2 x 4) on the planar, 32MB (4 x 8) on the Acculogic Simmply Ram, Madge 16/4 TR (Tropic chipset), Maxtor MXT540S at SCSI-ID6, external CD-ROM II (caddy loaded) in 3510-AV0 enclosure. Win98SE install took about 3 hours ... I went away in between for lunch and missed to "press any key". The system hung at one point prior to the first reboot after the files had been copied from the CD and before you are asked to enter the 4 x 5 ident characters. I switched the machine off and powered it back on. Caused no major problem except waiting for the 40 Megs RAM to count up. Result (after that long time): "Your system is optimal configured". No 16-bit mode, full access to the CD-ROM etc. pp. ... but it is rather slow. Guess I'll have to send in the processor board to Doctor Jim for some supercharging ... :-) P75 System ADF 0E0FFh AdapterName "Built In Features" Serial Port <SERIAL_1 03f8-03ff int 4>, 2 (02f8-02ff int 3), 3 (3220-3227 int 3), 4 (3228-322f int 3), 5 (4220-4227 int 3), 6 (4228-422f int 3), 7 (5220-5227 int 3), 5 (228 -522f int 3), Disabled Parallel Port Parallel Port Arbitration Level
Preempt Enable/Disable Video I/O Address Video ROM Address Space Video Arbitration Level Video Fairness Auto-Dim Time Auto-Dim Reset Color to Gray Mapping Turned-on Display |