Casio SF-9500

This is a good example of high-end digital organizer. It has LCD display, ergonomic keyboard with plastic keys, 64kB of RAM and was expandable by small IC cards. It is powered by 3 CR2032 batteries: Two for powering unit, one for data backup when main cells are replaced or depleted. It was possible to enter data with diacritized characters and to manage it in different ways, including moving between some built-in applications.
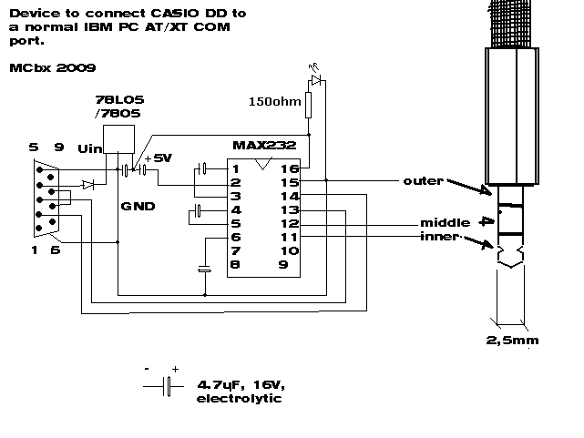
This device has also another unique feature: serial port. With this port it could be connected to PC and data can be managed on a PC, as well as exported to other formats. By using interface it is possible to print data from SF-9500 without PC.


Manufacturer  Casio

Origin Japan
Year of unit Mid-1990s
Year of introduction ??
Type Electronic organizer
 
 

 

 

XLink software for data copying and management: Part1  Part2
CasiFW ans Masca - Programs for data transfer and management. Masca is in Czech.
User's Manual (djvu)
Making interface between Casio SF-9500 and PC's serial port: Drawing and Photo of circuit.