|
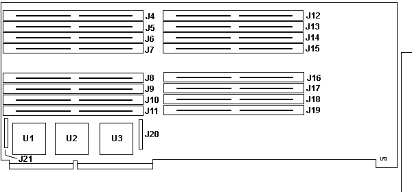
8642 Memory
J20,21 Outline
for 20 pin header?
J4-19 72 pin SIMM |
U1,2 Corollary DPX
U3 Corollary CMC |
U1,2 Corollary DPX 94C101B
U3 Corollary CMC 94C101A
Error code EP:1043
A Server 720 halts with error code EP:1043 (EP:104X).
This code can not be found in the Server 720 HMM (Hardware Maintenance
Manual) supplement, S30H-2352-00, dated October 1995.
Fix
Error code EP:1043 is not listed in the HMM. This error
code reflects a memory adapter failure. First reseat the memory adapter,
as it could be loose or not fully seated in the connector on the system
board. If the error persists, the memory adapter is the most likey failing
FRU. (FRU P/N71G0696).
Possible Memory Configurations
|
MBs
|
Mem Card 1
Bank A
|
Mem Card 1
Bank B
|
Mem Card 2
Bank A
|
Mem Card 2
Bank B
|
|
64MB
|
8 x 8MB
|
empty
|
empty
|
empty
|
|
128MB
|
8 x 8MB
|
8 x 8MB
|
empty
|
empty
|
|
128MB
|
8 x 16MB
|
empty
|
empty
|
empty
|
|
192MB
|
8 x 8MB
|
8 x 8MB
|
8 x 8MB
|
empty
|
|
256MB
|
8 x 8MB
|
8 x 8MB
|
8 x 8MB
|
8 x 8MB
|
|
256MB
|
8 x 16MB
|
8 x 16MB
|
empty
|
empty
|
|
256MB
|
8 x 32MB
|
empty
|
empty
|
empty
|
|
320MB
|
8 x 16MB
|
8 x 16MB
|
8 x 8MB
|
empty
|
|
384MB
|
8 x 16MB
|
8 x 16MB
|
8 x 8MB
|
8 x 8MB
|
|
384MB
|
8 x 16MB
|
8 x 16MB
|
8 x 16MB
|
empty
|
|
384MB
|
8 x 32MB
|
8 x 16MB
|
empty
|
empty
|
|
512MB
|
8 x 16MB
|
8 x 16MB
|
8 x 16MB
|
8 x 16MB
|
|
512MB
|
8 x 32MB
|
8 x 32MB
|
empty
|
empty
|
|
576MB
|
8 x 32MB
|
8 x 32MB
|
8 x 8MB
|
empty
|
|
640MB
|
8 x 32MB
|
8 x 32MB
|
8 x 8MB
|
8 x 8MB
|
|
640MB
|
8 x 32MB
|
8 x 32MB
|
8 x 16MB
|
empty
|
|
768MB
|
8 x 32MB
|
8 x 32MB
|
8 x 16MB
|
8 x 16MB
|
|
768MB
|
8 x 32MB
|
8 x 32MB
|
8 x 32MB
|
empty
|
|
896MB
|
8 x 32MB
|
8 x 32MB
|
8 x 32MB
|
8 x 16MB
|
|
1GB
|
8 x 32MB
|
8 x 32MB
|
8 x 32MB
|
8 x 32MB
|
9595 Main Page
|