Model 3510 
SHS91F9233   IBM PS/2 SCSI External Storage Enclosure (3510) (*.boo)
190-060   PS/2 External CD-ROM Drive Model 001
193-182   Enhanced External CD-ROM II Drive Model 005
191-053  PS/2 SCSI Storage Enclosure (3510-0V0)

Warning! The 3510-020 is a clone-boxen enclosure! It's black and angular, unlike the rounded edges of the PS/2 machines.



3510 

  This little bad boy is the Cadillac of external single device SCSI enclosures.  It has top and bottom ventilation grilles for the 35 watt PSU. I would bet that these would be sufficient for a CD Rom.
   The HD enclosure has a cylinder lock similar to those on the 95 series.



Open the 3510

   Unscrew the single standard screw above the C-50 passthrough connectors. Pull the top cover forward about 3/4", lift it straight up.



3510 Layout


Cutout
  Looks like the cutout was added for later 3510s to make it easier to hook up cables. My 3510-001 lacks the cutout and it's a little difficult to plug the SCSI and power connectors in.



Open a Locked 3510
David Ress was faced with a locked box of goodies, but managed to open it:
Equipment:
1) Louis for good ideas
2) Hot coffee, decaf so your hands do not shake
3) Long nose needle plyers
4) Pocket screwdriver

Method:
1) Remove screw on back, slide cover forward, will go about 0.25 inches
2) Turn unit over.
3) Look between cover and bottom, and you will see the lock
4) Wedge pliers down onto nut, and turn.
5) Repeat 5 until nut freely turns with screwdriver blade
6) Once nut falls off, use screwdriver to remove lock nut.
7) With lock nut off, use screwdriver to remove locking bar.
8) Turn case over, slide cover off!

Us, god-Emperor of Microchannel
  If the lock is too tight to allow the top to slide forward enough to get at the nut:

Remove cover screw at back. Remove the four screws from the bottom.

Using a standard screwdriver, carefully pry the side away from the rear corners. There is a rib on the upper cover that slides into a matching slot on the plastic base.

Slowly! After both sides have been pried up and past the slot, this now allows you to turn 'er upside down, and let the metal frame hang down at back.

The rear pins are about 3/16th of an inch high. That's all you need. Now, notice the two slots in the plastic base at the front. Notice the metal tabs? Pry the plastic base to the rear. Remember, don't let the metal frame settle back down on the pins! Even better, there are two holes that the rear pins can fit into. Let 'er hang.

Now slide the PSU backwards. This should give you enough room to get in and take the nut off the lock and remove the catch. 



3510 PSU
  Made in Taiwan, API-8381, P/N 84F9453 Universal 32-watt power supply
Autoranging, 110-125v @2A / 200-240v @1A  50/60 Hz
DC Out:
+5V (+/- .5v) 1.6A
+12v 0-2.0A
+12fV .2A (fan)

Remove PSU
   Open case. Remove both standard screws from bottom of case under the PSU. Pull PSU out, unfastening the +12v to fan and the 4 pin Molex on the SCSI device.

PSU Fan Mounting
  On my 0V0, the fan points inwards. The mounting screw thread is 4mm x .70 pitch

PSU Fan Model
  Sanko Denki Brushless DC Pico Ace Model 109P0612M402 12v .07A

2.36" square. .980" deep.



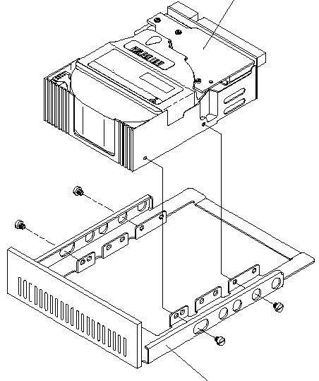
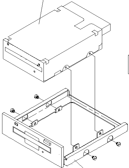
Drive Mounting
   This enclosure can use the AT style rails for 5.25" drives, slides from the 85/95 series for 3.5" devices, or it's own special rail/faceplate slides.

Hard Disk Drive Tray with Bezel

Hard Disk Drive Tray with Bezel 64F4108
 

127MB Rewritable Optical Drive

The tray with bezel is 85F0021
 
 

9595 Main Page