TEXAS MICROSYSTEMS, INC.

P5000HX

Processor

Pentium

Processor Speed

100/133/166/200MHz

Chip Set

Unidentified

Video Chip Set

None

Maximum Onboard Memory

256MB

Maximum Video Memory

None

Cache

256/512KB

BIOS

Unidentified

Dimensions

305mm x 244mm

I/O Options (CPU)

Floppy drive interface, EIDE interface, SCSI interface, parallel port, PS/2 mouse interface, serial ports (2), cache slot

I/O Options (Backplane)

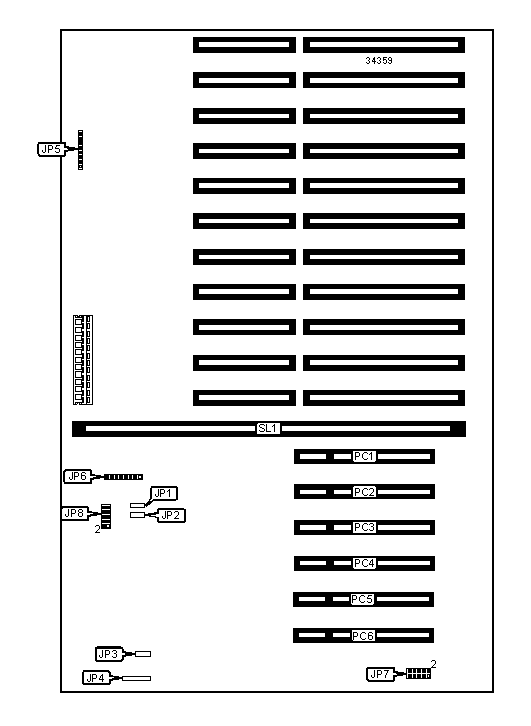
32-bit PCI slots (6), CPU slot

NPU Options

None

CONNECTIONS

Purpose

Location

Purpose

Location

SCSI interface

CN1

Serial port 1

CN6

Hard drive LED

CN2

Parallel port

CN7

EIDE interface

CN3

PS/2 mouse interface

CN8

Floppy drive interface

CN4

AT keyboard connector

CN9

Serial port 2

CN5

Cache slot

SL1

USER CONFIGURABLE SETTINGS

Function

Label

Position

»

Watchdog timer disabled

JP4

Pins 2 & 3 closed

 

Watchdog timer enabled

JP4

Pins 1 & 2 closed

»

PS/2 IRQ 12 enabled

JP7

Pins 2 & 3 closed

 

Next Step OS used

JP7

Pins 1 & 2 closed

»

Monitor type select color

SW1/1

On

 

Monitor type select monochrome

SW1/1

Off

»

Flash BIOS enabled

SW1/2

Off

 

Flash BIOS disabled

SW1/2

On

»

CMOS memory normal operation

SW1/3

Off

 

CMOS memory clear

SW1/3

On

»

I/O address select 270H

SW1/4

Off

 

I/O address select 370H

SW1/4

On

DRAM CONFIGURATION

Size

Bank 0

Bank 1

8MB

(2) 1M x 36

None

16MB

(2) 2M x 36

None

16MB

(2) 1M x 36

(2) 1M x 36

24MB

(2) 2M x 36

(2) 1M x 36

32MB

(2) 4M x 36

None

32MB

(2) 2M x 36

(2) 2M x 36

40MB

(2) 4M x 36

(2) 1M x 36

48MB

(2) 4M x 36

(2) 2M x 36

64MB

(2) 8M x 36

None

64MB

(2) 4M x 36

(2) 4M x 36

72MB

(2) 8M x 36

(2) 1M x 36

80MB

(2) 8M x 36

(2) 2M x 36

96MB

(2) 8M x 36

(2) 4M x 36

128MB

(2) 8M x 36

(2) 8M x 36

128MB

(2) 16M x 36

None

136MB

(2) 16M x 36

(2) 1M x 36

144MB

(2) 16M x 36

(2) 2M x 36

160MB

(2) 16M x 36

(2) 4M x 36

192MB

(2) 16M x 36

(2) 8M x 36

256MB

(2) 16M x 36

(2) 16M x 36

CACHE CONFIGURATION

Size

SL1

256KB

256KB module installed

512KB

512KB module installed

CPU SPEED SELECTION

CPU speed

Clock speed

Multiplier

JP6

JP8

100MHz

66MHz

1.5x

Open

Open

133MHz

66MHz

2x

Open

Closed

166MHz

66MHz

2.5x

Closed

Closed

200MHz

66MHz

3x

Closed

Open

SERIAL PORT 2 SELECTION

Setting

JP2

JP3

JP5

»

RS232

Pins 2 & 3 closed

Pins 2 & 3 closed

Pins 2 & 3 closed

 

RS422

Pins 1 & 2 closed

Pins 1 & 2 closed

Pins 1 & 2 closed

 

RS485

Pins 1 & 2 closed

Pins 1 & 2 closed

Pins 1 & 2 closed

CONNECTIONS

Purpose

Location

Purpose

Location

Front keyboard connector

JP4

Front panel connector

JP8

Rear keyboard connector

JP5

CPU slot

SL1

CPU interface

JP6

   

USER CONFIGURABLE SETTINGS

Function

Label

Position

»

Factory configured - do not alter

JP1

Unidentified

»

Factory configured - do not alter

JP2

Unidentified

»

Factory configured - do not alter

JP3

Unidentified

»

Factory configured - do not alter (PCI J tag)

JP7

Unidentified